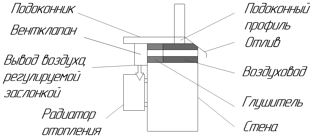
Norvind сity. Этот клапан с производительностью 30м3 в час устанавливается без сверления стены при монтаже окна. Он крепится к нижней поверхности подоконника, монтируется под оконной рамой и запенивается. Корпус клапана находится под подоконником и почти незаметен, поток воздуха направлен вниз на радиатор. Оголовок клапана (высота 51 мм) с G3 фильтром будет находиться и крепиться под подоконником над радиатором с выходом воздуха на радиатор отопления, воздуховоды - плоские, будут монтироваться в нишу между оконным профилем и оконным стеновым проемом (монтажнику окна необходимо предусматривать там зазор 50мм), далее выходить под отлив и закрываться им. Воздух входит в зазор между отливом и стеной, проходит по воздуховодам из теплоизоляционного материала и попадает в глушители, которые включают в себя теплозвукоизоляционный материал, частично поглощающий уличный шум. Далее воздух попадает в шумоглушитель вентклапана, который проводит поглощение уличного шума и понижает скорость воздушного потока за счёт лабиринтной формы. Воздух проходит очистку за счёт встроенного фильтра, после чего через регулируемую заслонку попадает на радиатор отопления, где нагревается и попадает в помещение, имея температуру, близкую к комнатной.
Технические характеристики вентклапана
Объем воздуха
30 м3/ч при 10 Па
Температура эксплуатации
От -40 до +80 °С
Уменьшение уличного шума
на 36 дБ
Фильтр
G3
Оголовок
высота 70 мм, ширина 51 мм, длина 392 мм
Глушитель
высота 45 мм, длина 211 мм
Воздуховод
высота 45 мм, длина 390 мм
Спецификация
1. Оголовок клапана с заслонкой, глушителями (всё АБС пластик), теплозвукоизоляцией и фильтром
1 шт
2. Вкладыш (АБС пластик)
2 шт
3. Воздуховод (вспененный полиэтилен)
2 шт
4. Звукоизол. материал (втор. вспененный пенополиуретан)
2 шт
5. Саморезы
5 шт
6. Инструкция
1 шт
Условия по эксплуатации и обслуживанию
Периодически необходимо очищать фильтрующий элемент внутри оголовка клапана. Для этого снимите корпус с основания, тщательно промойте фильтрующий элемент струёй тёплой воды. После этого просушите корпус и верните его на основание. Гарантийные обязательства
Гарантия на данное изделие при выполнении условий по эксплуатации, обслуживанию и монтажу – 5 лет.
Цвет
белый
Материал
ABS-пластик
Общие характеристики
Бренд
NORVIND
Тип
вентиляционный клапан
Тип вентиляции
приточная
Вид решетки
встраиваемая, накладная
Производительность
32 м3/ч
Материал
пластик
Форма
прямоугольная
Запорный клапан
нет
Дополнительная информация
Фильтрация воздуха происходит фильтром предварительной очистки G3
Купить Подоконный клапан Norvind City с доставкой по всей России. Подоконный клапан Norvind City: сравнение цен, характеристики, фото, актуальное наличие и цены.