Колонка пожарная КПА применяется для открытия и закрытия пожарного гидранта, а также, чтобы присоединять пожарные рукава, предназначенные для тушения пожаров водой из подземного водопровода. Колонка может работать только в умеренном, холодном и тропическим климате.
Колонка устанавливается следующим образом:
навинчиваем её на гидрант, чтобы квадратный шток гидранта входил в отверстие квадратной муфты колонки;
колонку КПА накручиваем на гидрант, вращая корпус по часовой стрелке;
потом открываем клапан гидранта и вращаем против часовой стрелки торцевого ключа, теперь вода будет поступать в полость колонки;
прикрепляем рукава к патрубкам колонки, открывая вентили вода из колонки поступит в рукавную линию.
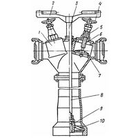
Колонка пожарная КПА состоит из корпуса(нижнего и верхнего), ключа, вентиля и соединительных головок. Обе половины корпуса соединены друг с другом болтами и имеют уплотнение резиновым уплотнительным кольцом. Внизу корпуса есть резьба, которая предназначена для навёртывания колонки на пожарный гидрант. Вверху колонки имеются 2 вентиля с УП 80 мм, чтобы перекрывать и регулировать поток воды, проходящей по выходным патрубкам, на которые установлены соединительные головки для подсоединения к ним пожарных рукавов.
Для проверки колонки необходимо провести испытание. На колонку подаётся давление 1,5 МПа в течении 2 минут, при этом допускается выход влаги в трёх точках, но не более 20 капель ежеминутно.
Хранить колонку необходимо с закрытыми запорными устройствами, но оставляя место для зазора между прокладками клапанов и посадочными гнёздами, которое обеспечивает их эластичность.
Преимущества КПА:
1. Высокая эффективность: КПА обладает высокой мощностью и способна быстро потушить пожар.
2. Компактность: КПА имеет небольшие размеры и легко помещается в любом помещении.
3. Простота использования: КПА очень проста в использовании, даже для неопытных пользователей.
4. Надежность: КПА изготовлена из высококачественных материалов, что гарантирует ее надежность и долговечность.
5. Безопасность: КПА оснащена всеми необходимыми системами безопасности, которые обеспечивают ее безопасную эксплуатацию.
6. Экономичность: КПА является экономичным вариантом для борьбы с пожарами, так как она не требует больших затрат на обслуживание и ремонт.
КПА может быть использована в различных условиях: в жилых домах, офисах, складских помещениях, на промышленных объектах и т. д. Она является надежным и эффективным средством для борьбы с пожаром, которое может спасти жизни и имущество.
Харцызский машиностроительный завод - это известный украинский производитель противопожарного оборудования. Завод был основан в 1945 году и за свою историю успел стать одним из лидеров в отрасли. Продукция завода известна своей надежностью, качеством и эффективностью.
Если вы ищете надежное и эффективное средство для борьбы с пожаром в своем доме или на рабочем месте, то КПА от Харцызского машиностроительного завода - это идеальный выбор. Она обладает всеми необходимыми характеристиками для быстрого и эффективного тушения пожара, а также имеет ряд других преимуществ, которые сделают ее вашим надежным помощником в борьбе с огнем.